MIC General-purpose Bottle Cleaner Machine(50 Bottles/min)
Efficient Cleaning with MIC General-purpose Bottle Cleaner Machine
At Mic Machinery, we specialize in providing reliable cleaning system solutions for medical, pharmaceutical, and laboratory applications. The MIC General-purpose Bottle Cleaner Machine is designed to handle both glass and plastic bottles of various shapes, including round and irregular containers. Using a parallel-clamping rotating conveyor mechanism, bottles are securely transported, inverted, and thoroughly cleaned inside and out. Multi-stage washing with recirculated water, purified water, and compressed air ensures bottles are completely cleaned and dried, making this machine highly adaptable, reliable, and ideal for GMP-compliant production environments.
Working Principle
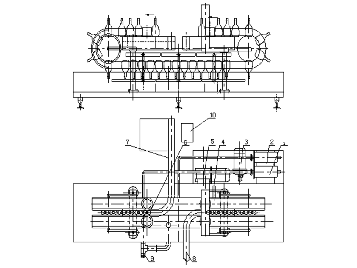
| The MIC General-purpose Bottle Cleaner Machine operates through an automated process that covers the entire cleaning cycle. Bottles are first placed on the infeed conveyor, then transferred to the clamping conveyor where rubber rings hold and invert them. As bottles move through the cleaning zones, they undergo initial coarse cleaning with circulating water and are then rotated into the precision washing area. Here, purified water and compressed air are used to remove remaining residues and dry the bottles. Finally, the bottles are gradually rotated upright and delivered to the outfeed conveyor for the next production stage. This process ensures consistent, contamination-free cleaning for every bottle. | ![]() |
Key Features and Advantages
The MIC General-purpose Bottle Cleaner Machine combines advanced engineering with operational efficiency, making it a versatile glass bottle washing machine:
· Advanced Bottle Handling: Bottles are securely clamped, rotated 180 degrees, and conveyed through multiple cleaning stages, providing uniform internal and external washing.
· Thorough Multi-stage Cleaning: Multi-step washing with circulating water, purified water, and compressed air ensures bottles are fully cleaned and dried.
· Flexible and Efficient Design: The adjustable clamping chain accommodates various bottle sizes without replacing parts, allowing quick changeovers and high production efficiency.
· Hygienic and Durable Construction: All components in contact with bottles are made from stainless steel or non-toxic, corrosion-resistant materials. The enclosed washing area prevents external contamination.
· User-Friendly Operation: Simple mechanical adjustments and easy access to cleaning zones make maintenance and operation convenient for operators, minimizing downtime.
Ideal for Medical and Pharmaceutical Applications
This bottle cleaner machine is perfectly suited for pharmaceutical and food production, where precision and hygiene are critical. As a reliable glass bottle washing machine, it ensures bottles, vials, and containers are thoroughly cleaned and dried before filling. Integrating this cleaning system into production lines automates bottle handling, inversion, washing, and drying, providing consistent, high-quality results that comply with strict industry standards. Its flexibility and efficiency make it suitable for facilities of all sizes.
Enhancing Efficiency and Safety
Mic Machinery’s MIC General-purpose Bottle Cleaner Machine improves production workflow by automating key stages, reducing manual handling, and minimizing contamination risk. Its multi-stage washing, reliable bottle handling, and durable design provide a high-performance cleaning system that ensures hygienic, efficient, and professional operation. This machine is an ideal solution for modern medical, pharmaceutical, and laboratory facilities that demand consistent, safe, and high-quality bottle cleaning.
|
Parameter |
Specification |
|
Production Capacity |
50 bottles/min |
|
Applicable Bottle |
Round or irregular glass bottles |
|
Recycled Water Flow |
0.5–1 m³/h |
|
Recycled Water Pressure |
0.2–0.3 MPa |
|
Purified Water Consumption |
0.6–0.8 m³/h |
|
Purified Water Pressure |
0.2–0.3 MPa |
|
Purified Compressed Air Consumption |
0.6 m³/min |
|
Compressed Air Pressure |
0.2–0.3 MPa |
|
Power Supply |
380V, 50Hz, 3-phase 5-wire system |
|
Total Power |
5 kw |
|
Dimensions (L×W×H) |
3500×1500×1600 mm |
|
No. |
Component Name |
Model |
Manufacturer |
Remarks |
|
1 |
General Bottle Washer Body |
TXP |
Yizhao |
Exterior: brushed stainless steel; Inner tank: 304 stainless steel |
|
2 |
Main Control System |
- |
Schneider Group |
Stable performance, reliable operation |
|
3 |
Washing Water Pump |
32-25-160 |
Nanfang Pump |
All stainless steel, stable water pressure |
|
4 |
Ultrasonic Washer |
D28-2000 |
Dongguan |
Strong cavitation effect, good cleaning performance |
|
5 |
Quick Coupling |
25/50.5 |
Wenzhou |
All stainless steel casting |
|
6 |
Water Pipe |
25 |
Wenzhou |
Sanitary grade |
|
7 |
Liquid Level Controller |
HL-2S |
Shanghai Sipai |
High sensitivity |
|
8 |
Conveyor Chain |
6-pitch |
Haimen Chain Factory |
Stainless steel |
|
9 |
Conveyor Chain Plate |
82.6×38.1 |
Shanghai |
PE |
|
10 |
Bottle Clamping Strip |
Custom |
Haimen |
Rubber |
|
11 |
Reducer |
WPA60 |
Shanghai |
- |
|
12 |
Motor |
380V, 0.75KW |
Shanghai |
- |
|
13 |
Inverter |
- |
Schneider |
Good quality, compact size |
|
14 |
Main Transmission Parts |
- |
Yizhao |
Made according to standards |
Please feel free to let us know if you need any help, we will provide a professional guidance for you! Contact Us
